In 2024, Apple filed a patent application titled “Electronic Device and Cover with Satellite Communication Capabilities,” and this application recently came to light, revealing the idea of a smart cover that enhances satellite communication.
The idea is based on providing the cover with additional and more advanced antennas to improve signal reception via satellite. The design is not limited to iPhones only, but may also include iPads.
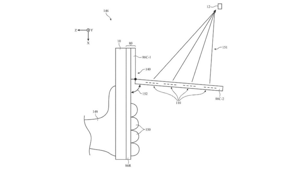
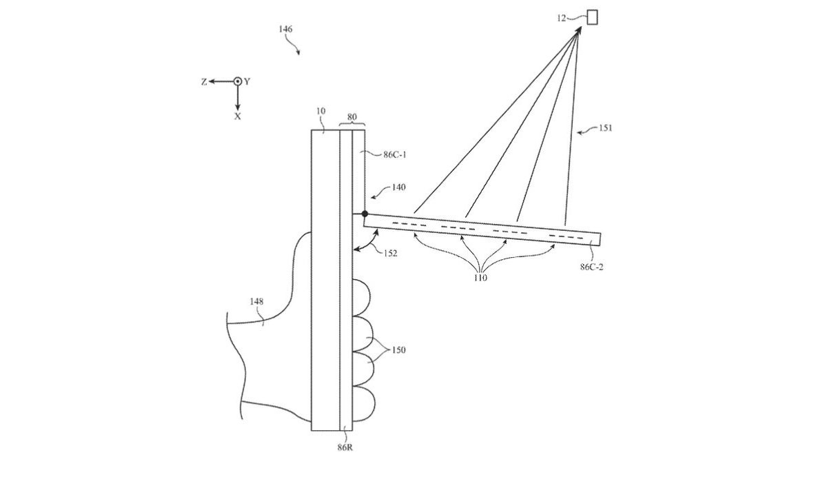
The cover includes an opening section that can be directed towards the sky, containing a directional antenna array. Through this design, signal reception is improved, and it is avoided when holding the phone, because the user will not touch the part containing the antennas.

Thanks to this array, the cover can communicate with several satellites at the same time. It also works like any traditional cover in terms of ease of installation and removal. The patent indicates the possibility of transmitting data wirelessly via a radio frequency connector, or through other technologies such as NFC.
However, it should be noted that patenting does not necessarily mean putting the product on the market. Companies often register experimental ideas that never advance beyond the concept stage, and may never see the light of day. Therefore, despite the attractiveness of the idea, it remains uncertain whether Apple will turn this concept into an actual product.








